News Headlines & Articles
At Bike Night USA, we will provide you with important News and Articles that are worth reading. Some articles come from external sources through RSS Feeds.
Thanks to the eight-time World Champion and Airbnb, you can purchase a one-night motorhome stay at the 2023 Catalan GP.
Read More
This year's KTM RC16 has seen huge improvements but their advantage as the lights go out is the most attention-grabbing.
Read More
No fewer than eight riders started the season with a new manufacturer, so we take a look at who's excelled and who's struggled.
Read More
The third Online Challenge of the 2023 MotoGP™ eSport Championship is over – let’s see who was fastest!.
Read More
Effective from the British GP, getting into Q2 all comes down to Friday afternoon as the first session of the weekend becomes FREE practice!.
Read More
The fine folks at CBoysTV are at it again, building wild machines and tearing things up. But their latest build, a Stark Varg converted to a trike has to be one of their wilder builds..
Read More
First things first: Honda's E-Clutch isn't an automatic. What is it? Watch our first ride review video and find out more, including maybe if it's for you..
Read More
Swiss firm Picasso Engineering bets adjustable carbon stiffness will outperform traditional steel frames in the grueling world of flat track racing..
Read More
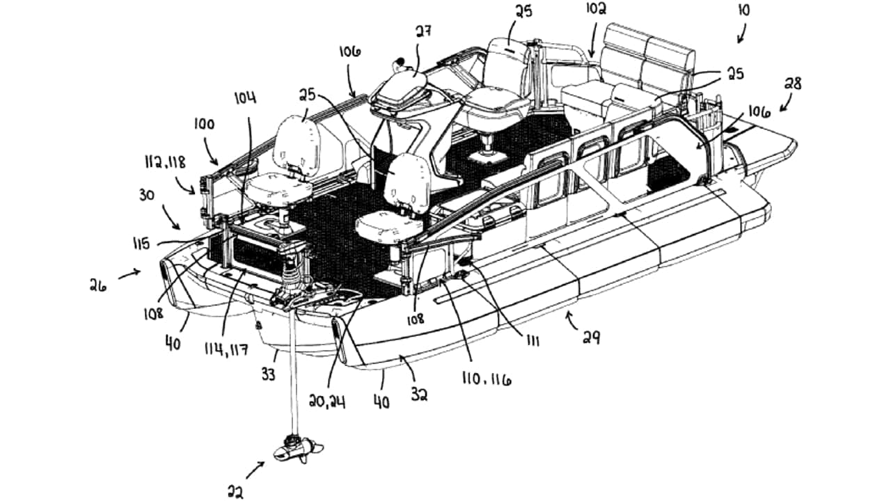
Only a few months ago, Bombardier Recreational Products (BRP), said the company was leaving boats behind to focus on its PWC brand Sea-Doo. So what's up with this recent pontoon patent?.
Read More
Sur-Ron was awarded $10 million after winning an intellectual property infringement case against Talaria. But this is more than a criminal case; it's a case of revenge..
Read More










